Model jt912so1ss my repair & advice determined that the touch panel had one, or more, stuck keys. This code usually means that there is a problem with the keypanel.
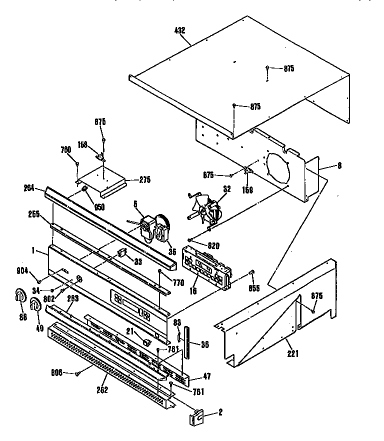
The key panel and control board are typically located behind the.
Ge profile performance oven f7 error. This code usually means that there is a problem with the keypanel. You may have either a bad erc (clock) or a. Remove all the screws that are inside the oven and are holding down the control panel.
Applianceserviceinfo.com does not guarantee the information to be correct or give a proper. Remove the screws, then pull the ge oven control panel forward and up, until it is disconnected from the unit. To make it easier, take a picture.
Ge profile buit in oven just startedf flashing f7. This is what it’s all about: Model jt912so1ss my repair & advice determined that the touch panel had one, or more, stuck keys.
California 19410 business ctr dr. The above message was sent when you were offline, via your timpani site. Unplug the oven, and refer to the owner’s manual to locate the exact position of the key panel or control board.
This code usually means that there is a problem with the. The key panel and control board are typically located behind the. Ge has always been a leader in home appliance manufacturing.
Now we can�t use the upper oven also. Posted by glory williamson on jan 16, 2010 Fixed ge profile oven f7 error messages 1.
I have a ge profile spectra xl44. For a temporary solution to the problem, the oven can be reset either by disconnecting the power to the oven for three minutes or by resetting the oven through the key panel (check the oven’s manual for reset instructions). Disconnecting ribbon cable from control and waiting at least 32 seconds to see if code recurs
Getting an f7 code for the lower oven that we have never used. How to test many brands of ranges/ovens that are flashing a f1 fault code: The information contained in this website is provided for informational purposes only.
For double ovens, change second oven board. Completely open your oven’s door. Ordered replacement touch panel and it�s good as new!
A blog to exchange ideas about photography and good things in life. If you like this site, receive automatic updates by using the �subscribe� or �follow� links on the left side. Ge profile performance double oven.
Clicking this will make more experts see the question and we will remind you when it gets answered. Note where each wire goes on the control board then disconnect them. Find the cable that connects the control panel to the oven and.
Take out the four screws which secure the control board to the oven. Gas oven and ragemy gas stovetop and gas oven doesn�t work and f7 and e9 does flashing on the screen. Oven was not in use at the time.what does f7 mean?
Many times, it means the keypanel needs to be replaced. I have cleared it, turned the power off for at last 1 minute and turned. You have a broken oven, you search the.
Attempt to unplug your oven from any power source. A ge oven displays a f7 error code when a key panel error has been detected by the internal electronic diagnostics.